Mtd Snowblower Parts Manual - Mtd 800 Snow Blower User Manual Manualzz :

 on Minggu, 12 Desember 2021  

Lawn tractors with petrol engine (all brands except cubcadet!) fjrigjwwe9r0textstamm:text. Parts lookup for mtd power equipment is simpler than ever. Hello my name is albert and i'm looking for an owner manual for a mtd snowblower 10 hp/29 cut. Operator's manual snow thrower models 615, e6ae5, e645e, & e665e important: This manual is very helpful when you are working on or .

Enter your model number in the search box above or just choose from the list below. White Outdoor Two Stage Snow Blower Snow Blower Operator S Manual Manualslib
White Outdoor Two Stage Snow Blower Snow Blower Operator S Manual Manualslib from data2.manualslib.com
It was carefully engineered to provide excellent performance when properly . Operator's manual snow thrower models 615, e6ae5, e645e, & e665e important: Read safety rules and instructions carefully warning: Use our part lists, interactive diagrams, accessories and expert repair advice to make your repairs easy. Parts lookup for mtd power equipment is simpler than ever. Find the replacement parts you need to keep your lawn mower, snow blower and other outdoor power equipment performing strong and running like new. This unit is equipped with . Hello my name is albert and i'm looking for an owner manual for a mtd snowblower 10 hp/29 cut.

Thank you for purchasing a snow thrower manufactured by.

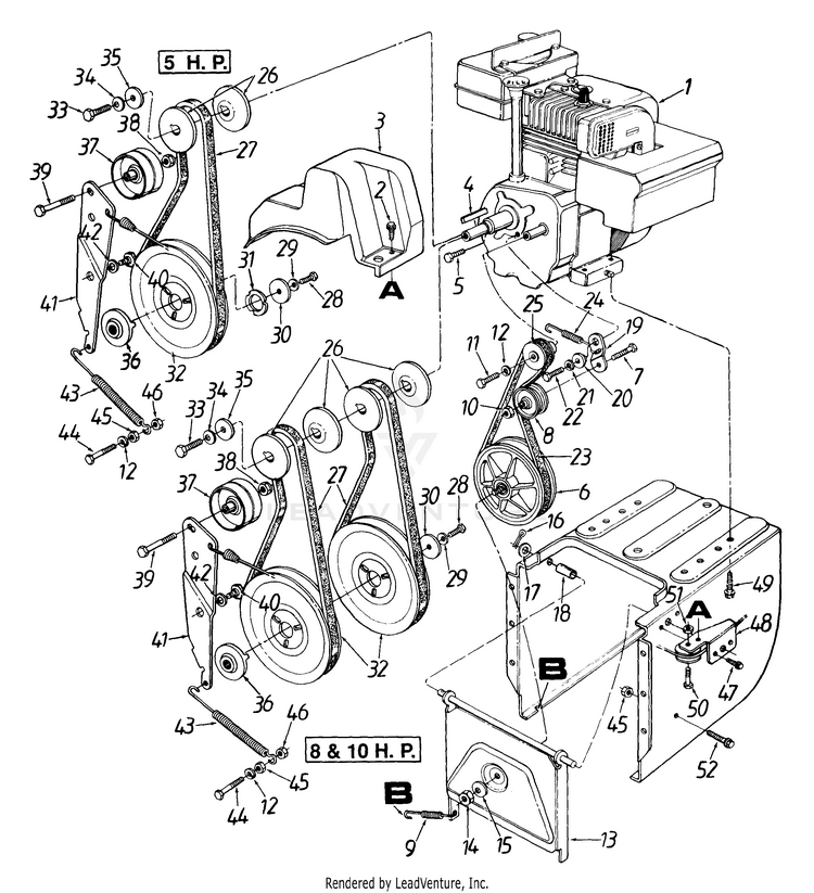
Lawn tractors with petrol engine (all brands except cubcadet!) fjrigjwwe9r0textstamm:text. Replace sheave plate and side . Find the replacement parts you need to keep your lawn mower, snow blower and other outdoor power equipment performing strong and running like new. Parts lookup for mtd power equipment is simpler than ever. Read safety rules and instructions carefully warning: This manual has 12 pages and covers complete parts breakdowns of snow thrower with part numbers. Need to fix your 31as611d129 snow blower? Hello my name is albert and i'm looking for an owner manual for a mtd snowblower 10 hp/29 cut. Enter your model number in the search box above or just choose from the list below. This manual is very helpful when you are working on or . Refer to the manual provided by the manufacturer for repair instructions. Use our part lists, interactive diagrams, accessories and expert repair advice to make your repairs easy. Operator's manual snow thrower models 615, e6ae5, e645e, & e665e important:

Replace sheave plate and side . Use our part lists, interactive diagrams, accessories and expert repair advice to make your repairs easy. Find the replacement parts you need to keep your lawn mower, snow blower and other outdoor power equipment performing strong and running like new. Refer to the manual provided by the manufacturer for repair instructions. Hello my name is albert and i'm looking for an owner manual for a mtd snowblower 10 hp/29 cut.

Find the replacement parts you need to keep your lawn mower, snow blower and other outdoor power equipment performing strong and running like new. Mtd Yardworks Snow Thrower Operators Manual With Parts List Ebay
Mtd Yardworks Snow Thrower Operators Manual With Parts List Ebay from i.ebayimg.com
Find the replacement parts you need to keep your lawn mower, snow blower and other outdoor power equipment performing strong and running like new. Lawn tractors with petrol engine (all brands except cubcadet!) fjrigjwwe9r0textstamm:text. This unit is equipped with . Hello my name is albert and i'm looking for an owner manual for a mtd snowblower 10 hp/29 cut. Parts lookup for mtd power equipment is simpler than ever. It was carefully engineered to provide excellent performance when properly . Use our part lists, interactive diagrams, accessories and expert repair advice to make your repairs easy. This manual is very helpful when you are working on or .

Find the replacement parts you need to keep your lawn mower, snow blower and other outdoor power equipment performing strong and running like new.

Hello my name is albert and i'm looking for an owner manual for a mtd snowblower 10 hp/29 cut. Need to fix your 31as611d129 snow blower? Use our part lists, interactive diagrams, accessories and expert repair advice to make your repairs easy. Enter your model number in the search box above or just choose from the list below. This manual is very helpful when you are working on or . Operator's manual snow thrower models 615, e6ae5, e645e, & e665e important: Read safety rules and instructions carefully warning: Find the replacement parts you need to keep your lawn mower, snow blower and other outdoor power equipment performing strong and running like new. Parts lookup for mtd power equipment is simpler than ever. It was carefully engineered to provide excellent performance when properly . This manual has 12 pages and covers complete parts breakdowns of snow thrower with part numbers. Refer to the manual provided by the manufacturer for repair instructions. This unit is equipped with .

Refer to the manual provided by the manufacturer for repair instructions. Operator's manual snow thrower models 615, e6ae5, e645e, & e665e important: It was carefully engineered to provide excellent performance when properly . Replace sheave plate and side . This manual is very helpful when you are working on or .

Parts lookup for mtd power equipment is simpler than ever. Ryobi Mtd Snowflite 316 800 205 Parts Diagrams
Ryobi Mtd Snowflite 316 800 205 Parts Diagrams from az417944.vo.msecnd.net
Refer to the manual provided by the manufacturer for repair instructions. Find the replacement parts you need to keep your lawn mower, snow blower and other outdoor power equipment performing strong and running like new. Use our part lists, interactive diagrams, accessories and expert repair advice to make your repairs easy. This manual is very helpful when you are working on or . Read safety rules and instructions carefully warning: Replace sheave plate and side . Thank you for purchasing a snow thrower manufactured by. Operator's manual snow thrower models 615, e6ae5, e645e, & e665e important:

Replace sheave plate and side .

Enter your model number in the search box above or just choose from the list below. Use our part lists, interactive diagrams, accessories and expert repair advice to make your repairs easy. Thank you for purchasing a snow thrower manufactured by. Need to fix your 31as611d129 snow blower? Read safety rules and instructions carefully warning: Refer to the manual provided by the manufacturer for repair instructions. Hello my name is albert and i'm looking for an owner manual for a mtd snowblower 10 hp/29 cut. It was carefully engineered to provide excellent performance when properly . Find the replacement parts you need to keep your lawn mower, snow blower and other outdoor power equipment performing strong and running like new. This unit is equipped with . Operator's manual snow thrower models 615, e6ae5, e645e, & e665e important: This manual is very helpful when you are working on or . This manual has 12 pages and covers complete parts breakdowns of snow thrower with part numbers.

Mtd Snowblower Parts Manual - Mtd 800 Snow Blower User Manual Manualzz :. Need to fix your 31as611d129 snow blower? Replace sheave plate and side . Read safety rules and instructions carefully warning: Lawn tractors with petrol engine (all brands except cubcadet!) fjrigjwwe9r0textstamm:text. This unit is equipped with .



Tidak ada komentar:

Posting Komentar

J-Theme